- Reisebericht Dolomiten 2009! -

Startseite
Über uns
Über Standard Gutbrod
Typen-Kompass
Technik-Lexikon
Motorsport
Fotoalbum
Marktplatz
Veranstaltungen
Literatur
Links
Impressum
Kontakt
Forum
 

Newsletter abonnieren

 

Letzte Überarbeitung: 20.01.2010

 

 

 

 

 

 

 

 

 

 

 

 

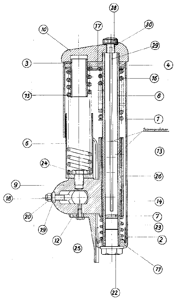
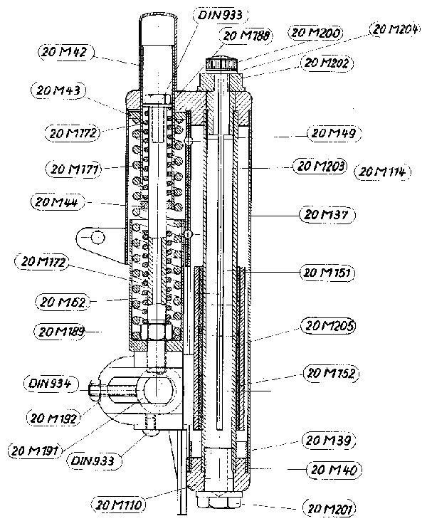
Technik - Lexikon Schnittdarstellungen Hinterradfederung